Views: 0 Author: Uly Hong Publish Time: 2023-08-30 Origin: LenoRF
Impedance
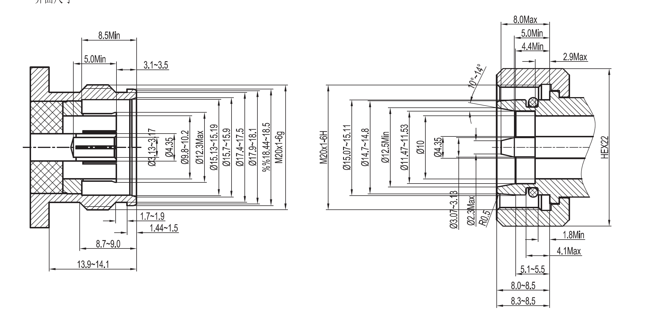
50 Ω
Maximum Operating Frequency
6.00 GHz
Coupling Mechanism
Quick Lock Coupling
Screw-on Coupling
Interface Standards
IEC 61169-54
4.3/10 Plug Connector

4.3/10 Jack Connector

In the intricate world of radio frequency (RF) connectors, the 4.3-10 connector stands out as a remarkable advancement. Characterized by its impedance of 50 Ω, a maximum operating frequency of 6.00 GHz, and adherence to the interface standard IEC 61169-54, this connector has revolutionized the field with its compact design and exceptional performance. Its history, applications, variations, and the collaborative effort that led to its development showcase the pivotal role it plays in modern communication systems.
The inception of the 4.3-10 RF connector stemmed from the imperative need for a replacement to the conventional 7/16 DIN connectors. As mobile broadband data rates were pushing the boundaries of 100 Mbps, it became evident that these higher data rates exposed vulnerabilities in traditional transmission sites. Passive intermodulation (PIM) emerged as a looming challenge, threatening to limit modulation schemes and subsequent achievable data rates. Addressing this concern required a connector that not only ensured low PIM but also adapted to the demands of evolving antenna systems.
In response, leading industry vendors, including SPINNER, Telegärtner, Rosenberger, and Huber+Suhner, embarked on a collaborative journey in 2012. Their combined efforts gave rise to the 4.3-10 RF connector, a groundbreaking solution that would push the boundaries of connector design. Released in 2016, the IEC 61169-54 standard codified this innovation, marking a significant milestone in RF connector history.
One of the defining features of the 4.3-10 connector is its low PIM design, often described as "virtually PIM free." This characteristic renders it particularly suitable for mobile communication systems and wireless applications, where signal fidelity is paramount. Its ability to match the performance of larger 7/16 connectors while occupying a 40% smaller footprint makes it a versatile choice for various broadcast applications. Moreover, its reduced size and weight have a cascading effect on antenna design, enabling lighter mounting frames and contributing to overall weight reduction.
The 4.3-10 connector's versatility extends to cellular distributed antenna systems (DAS) requiring PIM certification. Here, it replaces N connectors, underscoring its adaptability to diverse communication contexts. The prevalence of multiport and multiple-input multiple-output (MIMO) antenna systems further underscores its significance. As the demand for high data rates drives the use of these advanced antenna configurations, the 4.3-10 connector's compactness facilitates denser packing at the base of each antenna, optimizing space utilization.
Central to the 4.3-10 connector's design are its coupling mechanisms, which determine how connectors are mated. The IEC 61169-54 standard delineates three variations of the 4.3-10 male interface: screw-on, hand-screw, and quick-lock. These variations share a common universal female interface, each offering distinct advantages and disadvantages based on the intended application.
Screw-type connectors, characterized by their high coupling torque of 5 Nm, exhibit resistance against unwanted opening due to torque forces on the cable. However, they limit the cable's free rotation. Hand-screw and push-pull connectors, on the other hand, allow cable rotation. Hand-screw connectors can be opened by applying pulling, bending, and torque forces, while push-pull connectors are designed to resist such unintended openings. Despite the differences, all coupling mechanisms maintain stable performance and reduced PIM risk under dynamic conditions.
While the IEC 61169-54 standard designates a cutoff frequency of 6 GHz for the 4.3-10 connector, the industry has exceeded this limitation. Many manufacturers offer connectors capable of operating at frequencies up to 12 and 13 GHz. This extension demonstrates the connector's adaptability and forward-looking design, accommodating future technological advancements and expanding its potential applications.

The 4.3-10 RF connector emerges as a testament to collaborative innovation, addressing the challenges posed by evolving communication technologies. Its low PIM design, compact form factor, and versatile coupling mechanisms position it as a cornerstone of modern communication systems. From its inception through its variations and beyond its defined limits, the 4.3-10 connector exemplifies the spirit of pushing boundaries to create solutions that drive the progress of wireless communication.